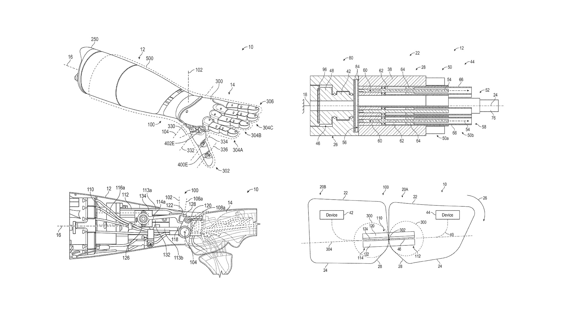
Tesla has just released the Optimus V3 hand patent, revealing a major redesign that moves all 25 actuators into the forearm instead of the hand itself. The biggest change is that all 25 linear actuators are now packed into the forearm instead of the hand itself. This makes the hand much lighter, more human-like, and easier to move quickly.
The hand uses a tendon-driven system with three thin, flexible control cables per finger. These cables run from the forearm actuators, through a cleverly designed wrist joint, and into the fingers. Each finger has four degrees of freedom, and the wrist adds two more, giving the entire hand about 22 degrees of freedom — very close to a human hand’s 27.
The patent also shows a smart cable routing trick at the wrist. The cables switch from a horizontal stack on the forearm side to a vertical stack on the hand side. This clever transition reduces friction, stretch, and interference when the wrist bends or twists.
Here’s the official patent drawing of the V3 hand and forearm assembly.

FAQ
What is the main innovation in Tesla’s Optimus V3 hand patent?
The key innovation is moving all 25 actuators into the forearm and using a lightweight tendon-driven cable system to control the hand, making it lighter and more dexterous.
How many degrees of freedom does the Optimus V3 hand have?
Each finger has four degrees of freedom, and the wrist adds two more, for a total of approximately 22 degrees of freedom per hand.
Why did Tesla move the actuators to the forearm?
Placing the heavy actuators in the forearm instead of the hand makes the hand much lighter, faster, and more human-like while still delivering strong grip strength.
What makes the V3 wrist design special?
The cables change from a horizontal stack on the forearm side to a vertical stack on the hand side, which greatly reduces friction and cable interference during wrist movements.
When will we see Optimus V3 with this new hand?
Tesla has not given an exact date, but these patents were filed in late 2024 and published this week, suggesting V3 could be revealed later in 2026.


2026